AFL源码分析
AFL源码分析
目录
- 基本信息
- Makefile
- afl-gcc.c
- afl-as.c
- afl-clang-fast.c
- afl-fuzz.c
- 参数解析
- setup_signal_handlers(void)
- check_asan_opts(void)
- fix_up_sync(void)
- save_cmdline(u32 argc, char** argv)
- fix_up_banner(u8* name)
- check_if_tty(void)
- get_core_count(void)
- bind_to_free_cpu(void)
- check_crash_handling(void)
- check_cpu_governor(void)
- setup_post(void)
- setup_shm(void)
- init_count_class16(void)
- setup_dirs_fds(void)
- read_testcases(void)
- add_to_queue(u8* fname, u32 len, u8 passed_det)
- shuffle_ptrs(void** ptrs, u32 cnt)
- load_auto(void)
- maybe_add_auto(u8* mem, u32 len)
- pivot_inputs(void)
- load_extras(u8* dir)
- find_timeout(void)
- detect_file_args(char** argv)
- setup_stdio_file(void)
- check_binary(u8* fname)
- perform_dry_run(char** argv)
- calibrate_case(char** argv, struct queue_entry* q, u8* use_mem,u32 handicap, u8 from_queue)
- init_forkserver(char** argv)
- show_stats(void)
- has_new_bits(u8* virgin_map)
- write_to_testcase(void* mem, u32 len)
- run_target(char** argv, u32 timeout)
- classify_counts(u64* mem)
- count_bytes(u8* mem)
- update_bitmap_score(struct queue_entry* q)
- minimize_bits(u8* dst, u8* src)
- mark_as_variable(struct queue_entry* q)
- cull_queue(void)
- mark_as_redundant(struct queue_entry* q, u8 state)
- show_init_stats
- find_start_position(void)
- write_stats_file(double bitmap_cvg, double stability, double eps)
- save_auto(void)
- fuzz执行的流程
- sync_fuzzers(char** argv)
- 暂时搁置分析的函数
- fuzzer与forkserver间的通信
- ref
[TOC]
基本信息
项目地址:https://github.com/google/AFL
Makefile
这里是对应的项目名称、afl的版本、最终make install目录的前缀、bin目录、helper目录、doc目录和杂项的目录
1 | |
PROGS是会编译的文件名
SH_PROGS:sh脚本
CFLAGS:编译的flag,其中?=意思是如果没有指定编译flag的话,就使用这个;后面的DAFL_PATH、DDOC_PATH和DBIN_PATH是编译预处理阶段定义一个宏 ,后续代码中涉及到access都会与这个有关
1 | |
如果是linux系统,那么LDFLAGS就会有-ldl
接着判断,如果$CC输出了clang那么CC 会被设置成afl-clang,反之就是afl-gcc
1 | |
这里就是一些公共的头文件
1 | |
make all的指令,依赖项在后面,执行顺序是从左到右
1 | |
test_x86用于判断当前平台是否可以生成x86的代码,即用于平台判断
1 | |
afl-gcc:编译出afl-gcc,使用上方说到的编译flag;其中$@是自动变量,值为afl-gcc;编译完毕之后afl-g++、afl-clang、afl-clang++都软链接到afl-gcc,一种优化代码的方式,减少维护成本
afl-as:编译出afl-as;软链接as到afl-as
1 | |
下面的都是编译出对应的文件,但是就没有软链接这个步骤了
1 | |
分析完毕上方的makefile,其实大致可以知道哪一些是需要重点分析的,然后makefile里剩下的不是特别重要,就不再分析了。
afl-gcc.c
核心函数只有find_as(argv[0])和edit_params(argc, argv),当参数决定之后会调用最后执行execvp(cc_params[0], (char **)cc_params);
添加这一段逻辑之后,执行make,看到以下的输出,其实就和之前分析makefile对上了,只不过这里是testbuild,我们没有去分析,但是这些编译flag都是熟悉的
1 | |

find_as(u8* argv0)
这个函数的作用是获得正确的as_path路径
- 先从环境变量AFL_PATH中获取afl_path,如果存在,并且/AFL_PATH/as存在且可执行,那么就会给as_path赋值为/AFL_PATH/as并退出
- 如果AFL_PATH不存在,那么就会去获取argv[0]这个参数路径下最后一个”/“后的afl-gcc(例如这个路径/home/flyyy/Desktop/workspace/fuzz/AFL/afl-gcc,那么获取的就是/afl-gcc),将这个值赋值给slash
- 如果slash存在,那么会获取afl-gcc前面的path(以前面的为例,就是/home/flyyy/Desktop/workspace/fuzz/AFL),赋值给dir,接着会去判断这个dir目录下是否存在afl-as,如果存在且可以执行,那么就会给as_path赋值为dir/afl-as并退出
- 如果slash不存在,那么会使用默认的AFL_PATH,AFL_PATH一般等于/usr/local/lib/afl,接着会判断这个目录下的as是否存在且可执行,可以则给as_path赋值为/usr/local/lib/afl/as,然后退出。反之则输出报错信息,并让用户重新设置AFL_PATH
edit_params(u32 argc, char** argv)
整体就是通过命令行参数来完善cc_params
- 如果是FreeBSD和x86_64,那么初始化m32_set = 0
- 获取argv[0]的最后一个/之后的值(包括/)赋值给name
- 如果name[0]为空的话则name = argv[0],反之name++,也就是不要/了
- 如果name是afl-clang
- 初始化clang_mode = 1;设置CLANG_ENV_VAR为1
- 如果name是afl-clang++,并且设置了AFL_CXX,那么cc_params[0]=AFL_CXX;反之为clang++
- 如果name不是afl-clang++,并且设置了AFL_CC,那么cc_params[0]=AFL_CC;反之为clang
- 如果name不是afl-clang
- 为APPLE平台时
- name为afl-g++,则cc_params[0] = getenv(“AFL_CXX”);
- name为”afl-gcj,则cc_params[0] = getenv(“AFL_GCJ”);
- 否则cc_params[0] = getenv(“AFL_CC”);
- 如果cc_params[0]为空则报错
- 如果不是APPLE平台
- 如果name是afl-g++,并且设置了AFL_CXX,那么cc_params[0]=AFL_CXX;反之则为g++
- 如果name是afl-gcj,并且设置了AFL_GCJ,那么cc_params[0]=AFL_GCJ;反之则为gcj
- 否则获取AFL_CC,如果不为空cc_params[0] = AFL_CC;反之则为gcc
- 为APPLE平台时
下面进入一个大循环
- 依次argc—,并且u8* cur = *(++argv);
- 如果参数cur为”-B”,且”-B”紧邻的下一个字节为空,且还存在参数,则continue
- 如果参数cur为”-integrated-as”,则continue
- 如果参数cur为”-pipe”,则continue
- 如果为FreeBSD和x86_64,且参数cur为”-m32”,则m32_set = 1
- 如果参数cur为”-fsanitize=address”或者”-fsanitize=memory”,则asan_set = 1;
- 如果参数cur为”FORTIFY_SOURCE”,则fortify_set = 1;
- 以上判断都完毕之后,执行cc_params[cc_par_cnt++] = cur;
经过上方的while循环的判断
- 执行cc_params[cc_par_cnt++] = “-B”;cc_params[cc_par_cnt++] = as_path;
- 如果为clang mode的话
- 执行cc_params[cc_par_cnt++] = “-no-integrated-as”;
- 如果设置了环境变量AFL_HARDEN,那么cc_params[cc_par_cnt++] = “-fstack-protector-all”;
- 如果fortify_set≠1,那么cc_params[cc_par_cnt++] = “-D_FORTIFY_SOURCE=2”;
- 如果设置asan_set
- 那么设置AFL_USE_ASAN为1
- 如果没设置asan_set,但设置了AFL_USE_ASAN
- 如果设置了AFL_USE_MSAN,则报错
- 如果设置了AFL_HARDEN,则报错
- 执行cc_params[cc_par_cnt++] = “-U_FORTIFY_SOURCE”;cc_params[cc_par_cnt++] = “-fsanitize=address”;
- 如果没设置asan_set,当设置了AFL_USE_MSAN
- 如果设置了AFL_USE_ASAN,则报错
- 如果设置了AFL_HARDEN,则报错
- 如果没有设置AFL_DONT_OPTIMIZE
- 如果满足FreeBSD && x86_64
- 满足(!clang_mode || !m32_set)==1,则cc_params[cc_par_cnt++] = “-g”;
- 如果不满足FreeBSD && x86_64
- 则cc_params[cc_par_cnt++] = “-g”;
- 执行cc_params[cc_par_cnt++] = “-O3”;
- 执行cc_params[cc_par_cnt++] = “-funroll-loops”;
- 执行cc_params[cc_par_cnt++] = “-D__AFL_COMPILER=1”;
- 执行cc_params[cc_par_cnt++] = “-DFUZZING_BUILD_MODE_UNSAFE_FOR_PRODUCTION=1”;
- 如果满足FreeBSD && x86_64
- 如果设置了AFL_NO_BUILTIN
- 执行cc_params[cc_par_cnt++] = “-fno-builtin-strcmp”;
- 执行cc_params[cc_par_cnt++] = “-fno-builtin-strncmp”;
- 执行cc_params[cc_par_cnt++] = “-fno-builtin-strcasecmp”;
- 执行cc_params[cc_par_cnt++] = “-fno-builtin-strncasecmp”;
- 执行cc_params[cc_par_cnt++] = “-fno-builtin-memcmp”;
- 执行cc_params[cc_par_cnt++] = “-fno-builtin-strstr”;
- 执行cc_params[cc_par_cnt++] = “-fno-builtin-strcasestr”;
- 执行 cc_params[cc_par_cnt] = NULL;,为了截断区分
afl-as.c
该文件的主要逻辑是通过一系列操作得到汇编需要的命令行参数,接着通过execvp执行得到.s汇编文件,接着对于汇编文件进行插桩
main(int argc, char** argv)
定义的变量
1 | |
- 获取环境变量AFL_INST_RATIO,赋值给inst_ratio_str
- 获取环境变量CLANG_ENV_VAR,两次!!,然后赋值给clang_mode
- 获取随机数种子,rand_seed = tv.tv_sec ^ tv.tv_usec ^ getpid();
- 进入edit_params函数
- 设置环境变量AS_LOOP_ENV_VAR为1
- 条件判断,如果环境变量AFL_USE_ASAN或者AFL_USE_MSAN
- 设置sanitizer = 1;inst_ratio /= 3;
- 判断just_version是否为1,如果为1则不会对.s文件插桩
- 创建子进程,执行execvp(as_params[0], (char**)as_params);,父进程等待子进程结束
- 获取环境变量AFL_KEEP_ASSEMBLY,存在则保存modified_file,反之则删除(默认就是删除)
- end
edit_params(int argc, char** argv)
- 获取
TMPDIR环境变量的值,赋值给tmp_dir - 获取
AFL_AS环境变量的值,赋值给afl-as - 判断
tmp_dir是否为空,为空则分别环境变量TEMP的值,赋值给tmp_dir - 判断
tmp_dir是否为空,为空则分别环境变量TMP的值,赋值给tmp_dir - 判断
tmp_dir是否为空,为空则将"/tmp"赋值给tmp_dir - 给
as_params分配内存- 如果变量
afl-as的值不为空,则将其值赋值给as_params[0] - 反之为空,则将默认值
"as"赋值给as_params[0]
- 如果变量
- 接着进入一个for 循环,for循环的次数是argc(也就是说这里只将用户输入的变量赋值,系统的环境变量不赋值)
- 如果argv存在”—64”字段,将use_64bit赋值为1;如果argv存在”—32”字段,将use_64bit赋值为0
- 将argv的值赋值给as_params
- 将命令行输入的最后一个参数赋值给变量input_file
- 判断input_file[0]包含”-“字段
- 判断如果input_file+1存在”-version”字段
- 变量just_version=1,变量modified_file=input_file,接着goto wrap_things_up
- 不存在”-version”字段
- 如果input_file[1]存在内容,则输出报错信息;反之input_file=NULL;
- 判断如果input_file+1存在”-version”字段
- input_file[0]不包含”-“字段,
- 则依次比较input_file字段里是否存在tmp_dir的值、”/var/tmp”、”/tmp”,以上三个字段其中之一不符合,则将变量pass_thru赋值为1(该变量为1则说明此时使用户传入的文件,反之则是默认的文件处理)
- 判断input_file[0]包含”-“字段
- modfiled_file被赋值,赋值的格式为”%s/.afl-%u-%u.s”,参数依次为tmp_dir、getpid()和time(NULL)
- wrap_things_up:
- 将as_params的最后一个值赋值为modified_file,同时尾部置为NULL
add_instrumentation(void)
首先定义了一堆变量
1 | |
- 判断input_file是否存在,如果存在则以只读模式打开,并赋值给FILE* inf;反之则是复制stdin给FILE* inf
- 以「 O_WRONLY | O_EXCL | O_CREAT, 0600」模式打开modified_file文件,然后赋值给outfd
- 判断这个文件是否成功打开
- 接着使用fdopen共享outfd,赋值给FILE* outf
- 判断是否成功共享
下面是主要去插桩的地方
1 | |
从注释可以得知,main函数入口、gcc和clang的label 标签、条件跳转是插桩的地方。一些注释、无条件跳转、非label标签都是不插桩的地方
接着进入一个大循环,这个循环就是主要的插桩逻辑
- 进入循环,循环的条件是fgets(line, MAX_LINE, inf),读取MAX_LINE-1行数据
- 条件判断(!pass_thru && !skip_intel && !skip_app && !skip_csect && instr_ok && instrument_next && line[0] == ‘\t’ && isalpha(line[1]))
- 如果满足,则使用通过判断use_64bit这个变量来判断,使用fprintf将对应的64/32位的插桩汇编插入到当前位置
- 接着将instrument_next=0,然后ins_lines++
- 将读取的line,输入到outf中,也就是保存到这个文件里
- 如果变量pass_thru=1,则continue。这个变量为1说明文件不是用户指定的,然后回到循环开始,无法进入上面的if分支,也就是说,不是用户指定的文件,不进行插桩。
- 条件判断(line[0] == ‘\t’ && line[1] == ‘.’)
- 条件判断(!clang_mode && instr_ok && !strncmp(line + 2, “p2align “, 8) && isdigit(line[10]) && line[11] == ‘\n’),满足skip_next_label=1
- 条件判断,如果line+2中存在text、section\t.text、section\t__TEXT,__ text、section TEXT, text字段,满足则instr_ok = 1,说明可以插桩,然后回到循环开头
- 条件判断,如果line+2中存在section\t、section、bss\n、data\n这些字段,满足则instr_ok=0,说明不可以插桩,然后回到循环开头
- 条件判断(strstr(line, “.code”)),这里是为了防止64位模式给32位程序插桩而产生的判断
- 如果line中存在.code32,则skip_csect = use_64bit
- 如果line中存在.code64,则skip_csect = !use_64bit
- 如果line中存在.intel_syntax字段,则skip_intel=1
- 如果line中存在.att_syntax字段,则skip_intel=0,说明插转不支持intel语法
- 条件判断(line[0] == ‘#’ || line[1] == ‘#’),如果存在注释或者伪指令
- 如果line中存在#APP,则skip_app=1,说明这里不会对手写的汇编进行插桩
- 如果line中存在#NO_APP,则skip_app=0
- 条件判断,(skip_intel || skip_app || skip_csect || !instr_ok || line[0] == ‘#’ || line[0] == ‘ ‘)
- 如果存在intel语法、手写汇编、架构不一致、无法插桩、注释行、空行,则回到循环开头
- 条件判断(line[0] == ‘\t’)
- 条件判断(line[1] == ‘j’ && line[2] != ‘m’ && R(100) < inst_ratio)
- 插桩,ins_lines++
- 回到循环开头
- 条件判断(line[1] == ‘j’ && line[2] != ‘m’ && R(100) < inst_ratio)
- 条件判断(strstr(line, “:”))
- 条件判断(line[0] == ‘.’)
- 如果满足.L<num> / .LBB<num> 的形式,并且R(100) < inst_ratio,这里插桩的概率取决于inst_ratio的数值
- 如果skip_next_label=0,那么instrument_next=1;
- 如果skip_next_label=1,那么instrument_next=0;
- 不符合,则instrument_next = 1;
- 如果满足.L<num> / .LBB<num> 的形式,并且R(100) < inst_ratio,这里插桩的概率取决于inst_ratio的数值
- 条件判断(line[0] == ‘.’)
- 循环结束
下面的代码很简单,直接贴出来
1 | |
- 如果这个.s文件被插桩,则会在尾部插入一段64/32位的payload
- 如果input_file存在,那么关闭inf
- 关闭outf
- 一些简单判断的输出
简单的调试
terminal 接受三个参数

第二个必须是架构?
第三个是输入文件
terminal 最后一个是输入的文件名称
如果最后一个是--version 那么就会输出对应的版本信息

afl-clang-fast.c
整体来说和afl-gcc的流程一致
find_obj(u8* argv0)
- 获取环境变量AFL_PATH的值,赋值给afl_path
- 如果afl_path存在
- 去找其目录下的afl-llvm-rt.o(如果afl_path为/home/flyyy/Desktop/workspace/fuzz/AFL,那么就去找这个目录下的afl-llvm-rt.o)
- 同时判断是否可达,则赋值给obj_path,然后return
- 获取”/“ 后面的执行文件,以上面为例,就是/alf-clang-fast,并赋值给slash
- 如果slash存在
- 获取前缀目录,赋值给dir,也就是dir=/home/flyyy/Desktop/workspace/fuzz/AFL
- 寻找dir目录下的afl-llvm-rt.o
- 同时判断是否可达,则赋值给obj_path,然后return
- 以上都不满足就去默认目录/usr/local/lib/afl下寻找afl-llvm-rt.o
- 判断是否可达,则赋值给obj_path,然后return
edit_params(u32 argc, char** argv)
函数内定义的变量
1 | |
- 获取agrv[0]变量中,包括”/“以及之后的值,赋值给name
- 如果name存在则name++,反之name=argv[0]
- 比较name
- 如果name == “afl-clang-fast++”,则去获取环境变量AFL_CXX,赋值给alt_cxx,如果alt_cxx存在则cc_params[0]=afl_cxx,反之cc_params[0]=”clang++”
- 如果name == “afl-clang-fast”,则去获取环境变量AFL_CC,赋值给alt_cc,如果alt_cc存在则cc_params[0]=afl_cc,反之cc_params[0]=”clang”
- 接着给cc_params添加几个参数,分别是 “-Xclang” “-loa” “-Xclang”和afl-llvm-pass.so的绝对路径(find_obj获取)
- 进入循环,判断传入的agrv数组内容,根据内容来给变量赋值
- u8cur=(++argv);
- 存在”-m32”或者”armv7a-linux-androideabi”,则bit_mode = 32;
- 存在”-m64”,则bit_mode = 64;
- 存在”-x”,则x_set=1;
- 存在”-fsanitize=address”或者”-fsanitize=memory”,则asan_set=1
- 存在”FORTIFY_SOURCE”,则fortify_set = 1;
- 存在 “-Wl,-z,defs”或者”-Wl,–no-undefined”,则回到循环开始
- cc_params[cc_par_cnt++] = cur
- 如果环境变量AFL_HARDE存在
- cc_param增加一个”-fstack-protector-all”
- 如果fortify_set==0,cc_param增加一个-D_FORTIFY_SOURCE=2
- 如果asan_set==0,并且环境变量AFL_USE_ASAN和AFL_USE_MSAN不同时存在
- AFL_USE_ASAN存在,cc_params增加两个变量”-U_FORTIFY_SOURCE”和”-fsanitize=address”
- AFL_USE_MSAN存在,cc_params增加两个变量”-U_FORTIFY_SOURCE”和”-fsanitize=memory”
- 如果环境变量AFL_DONT_OPTIMIZE存在
- cc_params增加三个变量,默认是o3优化

对于的解释-funroll-loops

- 如果环境变量AFL_NO_BUILTIN存在

- 统一添加几个参数

最后会添加一些参数,是为了避免插桩的代码被优化,这里采取了三种方法
1 | |
- 如果x_set存在

最后根据上面的代码来判断最后一个参数,根据64/32位来判断
非安卓平台都需要执行这个
1 | |
main(int argc, char** argv)
afl-llvm-pass.so.cc
llvm-pass待学习
afl-llvm-rt.o.c
afl-fuzz.c
这个是主要的fuzz流程产生的函数
参数解析
首先是一些变量的定义,时间/随机种子的获取、文档路径的判断,接着就到了参数的解析,如下的一个循环,其中的+表示遇到非如下涉及到的参数则停止解析,参数后带:表示这个参数的后面需要跟一个参数
1 | |
解释下各个参数
- -i [in_dir]
- in_dir是种子的输入目录
- -o [out_dir]
- out_dir是结果的输出目录
- -M [sync_id]
- sync_id第一种情况,任意指定
- sync_id第二种情况,格式为sync_id:master_id/master_max;满足条件是(sscanf(c + 1, “%u/%u”, &master_id, &master_max) != 2 || !master_id || !master_max || master_id > master_max || master_max > 1000000)
- -S [sync_id]
- sync_id任意指定
- -f [out_file]
- out_file为目标文件
- -x [extras_dir]
- extras_dir为字典目录
- -t [exec_tmout][suffix]
- exec_tmout为%u,不能小于5,开头不能是-
- suffix为%c,可有可无,为’+’号是表示宽松模式,也就是执行超过exec_tmout时不fault而是warn
- -m [mem_limit][suffix]
- mem_limit为%llu,不能以-开头
- 不能小于5
- 如果是32位系统,不能大于2000
- suffix其实就是单位,有TGkM,不同的会进行对应大小 */1024
- mem_limit为%llu,不能以-开头
- -b [cpu_to_bind]
- cpu_to_bind为%u,但是不能小于1
- -B [in_bitmap]
- in_bitmap解析无误之后,会调用read_bitmap(in_bitmap);
- -n
- 就是dumb mode
- -T [use_banner]
- use_banner用户指定的bannner
- -Q
- 指定为qemu mode
- 如果没有内存限制的话,就会设置一个默认的内存限制,执行mem_limit = MEM_LIMIT_QEMU
- -V
- 输出版本信息
setup_signal_handlers(void)
setup_signal_handlers 函数设置信号
check_asan_opts(void)
fix_up_sync(void)
这个函数为了设置sync_dir和out_dir,其中sync_dir是out_dir的上一层目录
- 如果开启了dumb mode,则fatal,因为-S -M与-n互斥
- 如果skip_deterministic=1,
- 如果force_deterministic=1,则说明-M和-d互斥,因此fatal(因为-M会设置force_deterministic=1,也就是好使用确定性变异,而skip_deterministic是跳过确定性变异)
- 如果force_deterministic≠1,则说明-S和-d冗余,因此fatal(-S和-d都会设置skip_deterministic=1,也就是跳过确定性变异)
- 检查后sync_id,只能包含数字和’-‘ ‘_‘,否则fatal
- 检测sync_id长度不能大于32,否则fatal
- 赋值sync_dir = out_dir
- 赋值out_dir = out_dir/sync_id
- 如果force_deterministic为0的话,也就是此时不是master
- 对应的就是slave,那么设置skip_deterministic = 1;use_splicing = 1;
- 也就是跳过确定性变异
save_cmdline(u32 argc, char** argv)
拷贝命令行参数并赋值给orig_cmdline,也就是保存初始的命令行参数

fix_up_banner(u8* name)
设置use_banner
- 如果use_banner为空
- 如果sync_id存在,则use_banner=sync_id
- 如果sync_id不存在,则use_banner=目标程序名称,例如上方命令行,也就是test
- 判断use_banner的长度,如果大于40则被截断
check_if_tty(void)
检查是否是tty设备
get_core_count(void)
bind_to_free_cpu(void)
check_crash_handling(void)
check_cpu_governor(void)
setup_post(void)
调用自己提前写的的so,去执行对应的逻辑
- 如果环境变量AFL_POST_LIBRARY不存在,则return
- 如果环境变量AFL_POST_LIBRARY存在
- 调用dlopen(fn, RTLD_NOW)加在so的动态库
- 在加载的库中查找名为 afl_postprocess 的函数,并将其地址存入 post_handler 函数指针
- 简单的测试下,调用post_handler(“hello”, &tlen);
其实这个so可以直接写,然后执行自己的逻辑
setup_shm(void)
申请一块共享内存,然后通过shmat将这一块内核的空间让afl进程也可以访问
其中的MAP_SIZE = 1 << 16
- 如果没有提前指定in_bitmap,那么初始化virgin_bits,memset(virgin_bits, 255, MAP_SIZE)
- 如果-B指定了in_bitmap,那么会跳过初始化virgin_bits
- 接着同样的方式初始化virgin_tmout和virgin_crash
- 申请一段共享内存,后续将这一段内存attach到进程的地址空间
- trace_bits = shmat(shm_id, NULL, 0);
下方是共享内存attach前后的变化
执行前
1 | |
执行后
1 | |
init_count_class16(void)
这里是初始化count_class_lookup16
这里是主要的初始化逻辑
1 | |
这里为了避免噪音,因此对于命中的次数进行了分类
1 | |
这里是初始化的一个例子。lookup16双字节检索,为了速度更快
1 | |
setup_dirs_fds(void)
创建out_dir下的一系列文件
- 如果sync_dir存在,则创建这个文件夹
- 接着创建out_dir
- 如果之前已经存在
- 那么会判断状态是否是EEXIST,是这个状态则会fatal退出
- 不是这个EEXIST则调用maybe_delete_out_dir()
- 如果之前不存在
- 如果in_place_resume为1,则报错
- 调用open打开文件,并赋值给out_dir_fd
- 如果之前已经存在
接着创建一系列文件夹
1 | |
- 如果存在sync_id
- 创建%s/.synced/文件夹
接着继续创建文件夹
1 | |
- 执行dev_null_fd = open(“/dev/null”, O_RDWR);
- 执行dev_urandom_fd = open(“/dev/urandom”, O_RDONLY);
- 创建%s/plot_data文件,调用fdopen打开该文件,返回值由plot_file保存,接着调用fprintf(plot_file, “xxxx”);将内容写入文件
read_testcases(void)
这个函数主要是对于in_dir目录下的种子进行操作,首先是判断shuffle_queue标志位,接着判断了id_dir下的种子是否发生了确定性变异,通过.state/deterministic_done/filename来判断。对于发生确定性变异的种子会在其添加到queue时,设置passed_det=1
- 分配新路径fn = alloc_printf(“%s/queue”, in_dir);,接着判断fn是否可达,如果可达,则设置in_dir = fn,否则就free掉
- 扫描in_dir下的文件,执行的语句是nl_cnt = scandir(in_dir, &nl, NULL, alphasort),scandir可以保证的读出文件的顺序是固定的,同时文件的基本信息被保存在nl变量中
- 判断读出文件的数量
- 如果nl_cnt 小于0,则报错
- nl_cnt 大于1,且shuffle_queue=1,则进入shuffle_ptrs函数
- 如果shuffle_queue≠1,会进入下面的循环
- 获取路径fn = alloc_printf(“%s/%s”, in_dir, nl[i]->d_name);
- 获取dfn = alloc_printf(“%s/.state/deterministic_done/%s”, in_dir, nl[i]->d_name);
- 初始化passed_det = 0,用于判断是否发生确定性变异
- 如果dfn可达
- 说明这个种子已经发生过确定性变异,接着执行passed_det=1
- 执行add_to_queue(fn, st.st_size, passed_det);
- 初始化last_path_time = 0;
- 初始化queued_at_start = queued_paths;
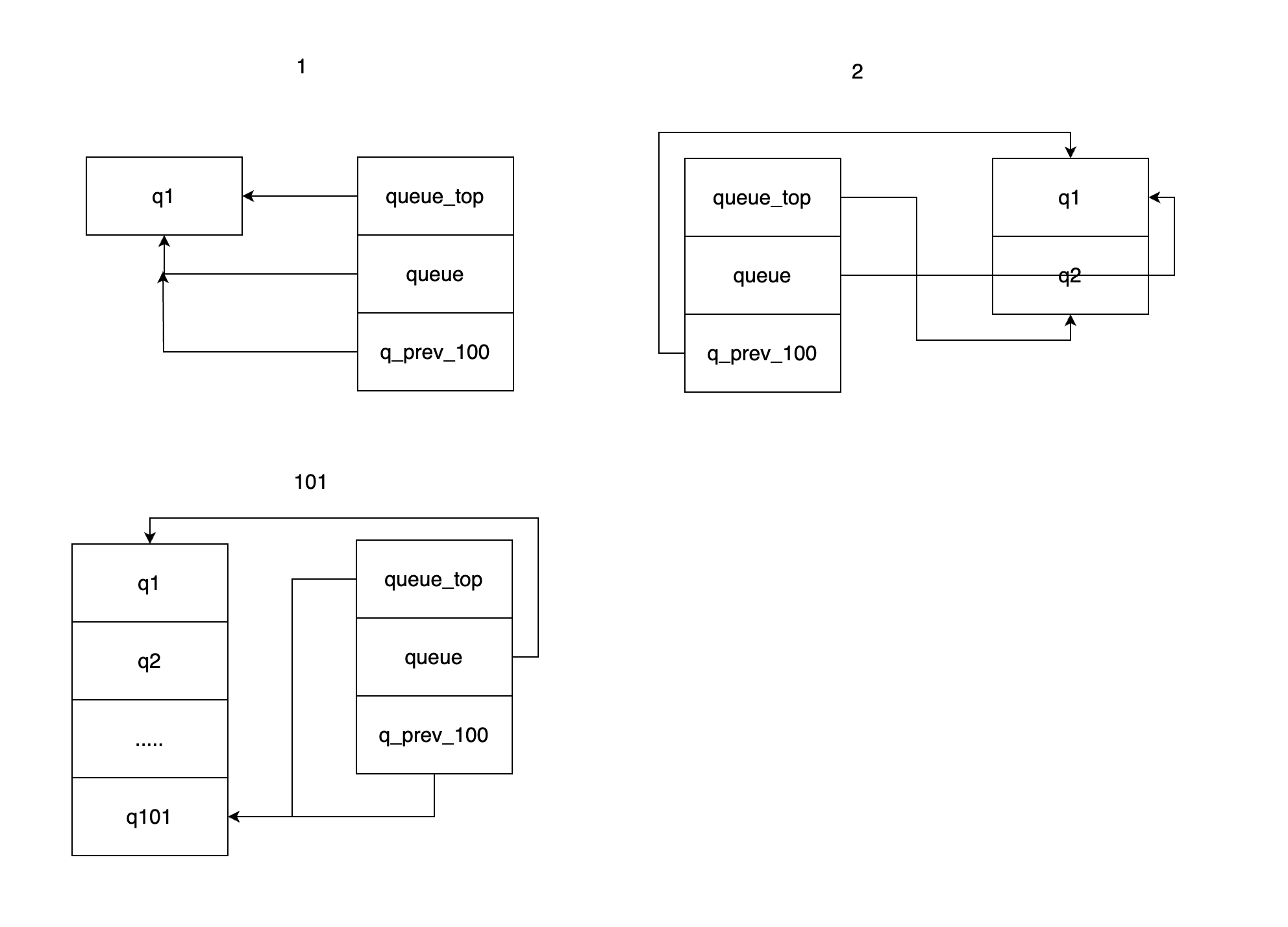
add_to_queue(u8* fname, u32 len, u8 passed_det)
需要使用到的链表结构
1 | |
有了上方的结构体,这里的queue的添加就很简单。下方实现了一个简单的单链表,然后还有一个next_100的指针,每一次可以跳过100项,增加便利的速度
每执行一次都会queued_paths++;pending_not_fuzzed++,当添加完毕之后会有一个获取添加表项的时间,同时更新last_path_time的值
1 | |
简图表示如下

shuffle_ptrs(void** ptrs, u32 cnt)
作用是将一个数组里的指针顺序随机打乱
load_auto(void)
读如字典文件的一个wrapper,字典长度无误之后会进一步评估字典内容
- 进入一个循环,循环次数为USE_AUTO_EXTRAS,即50次,定义在config.h中
- 获取字典路径,格式是这样alloc_printf(“%s/.state/auto_extras/auto _%06u”, in_dir, i);
- open文件,将文件读如tmp中,同时保存每次读完文件后的长度,记为len
- 长度如果满足(len >= MIN_AUTO_EXTRA && len <= MAX_AUTO_EXTRA)
- 调用maybe_add_auto(tmp, len);
maybe_add_auto(u8* mem, u32 len)
该函数主要是评估该字典是否可以为一个有效的字典
一些预定义的边界值
1 | |
字典的结构体
1 | |
- if(!MAX_AUTO_EXTRAS || !USE_AUTO_EXTRAS)
- 则return
- 如果字典内容是完全重复的字符串或内容与interesting_16/interesting_32存在相同的内容
- return
- 接着从extras数组中找出第一个待评估字典长度相等的项,判断内容是否一致,
- 一致则return
- 设置auto_changed=1
- 遍历a_extras,找到第一个与len相等且内容完全一致的
- a_extras[i].hit_cnt++;
- 同时goto排序a_extras的逻辑
- 如果此时的a_extras_cnt小于MAX_AUTO_EXTRAS
- 那么将当前的mem,添加为a_extras新表项,也就是新的字典
- 如果此时的a_extras_cnt大于MAX_AUTO_EXTRAS
- 此时会随机淘汰一个位于MAX_AUTO_EXTRAS / 2之后的,也就是hit频率较低的字典,并使用当前的字典替代
- 这里是排序a_extras的逻辑
- 首先按照hit_cnt大小,从高到低拍,也就是按照hit频率排序
- 接着按照长度从短到长排序
pivot_inputs(void)
初始化一些值,还有一个prefix
1 | |
- 进入一个循环
- 获取当前q对应的文件名,赋值给rsl,后续通过操作去掉文件名开头的’/‘
- 如果满足(!strncmp(rsl, CASE_PREFIX, 3) && sscanf(rsl + 3, “%06u”, &orig_id) == 1 && orig_id == id)
- 设置resuming_fuzz = 1;
- 分配一个路径alloc_printf(“%s/queue/%s”, out_dir, rsl);,赋值给nfn
- 调用strchr(rsl + 3, ‘:’),赋值给src_str
- 如果满足(src_str && sscanf(src_str + 1, “%06u”, &src_id) == 1)
- 接着通过src_id遍历到queue,得到s,此时的s就是父级queue
- 接着将其变异的深度+1
- 如果s的深度+1之后大于max_depth,则更新max_depth
- 如果不满足(!strncmp(rsl, CASE_PREFIX, 3) && sscanf(rsl + 3, “%06u”, &orig_id) == 1 && orig_id == id)
- 定义了SIMPLE_FILES
- 执行strstr(rsl, “,orig:”),返回值赋值给use_name,接着操作获得:之后的实际内容,更新use_name的值
- 分配路径alloc_printf(“%s/queue/id:%06u,orig:%s”, out_dir, id, use_name),赋值给nfn
- 没定义SIMPLE_FILES
- 直接分配alloc_printf(“%s/queue/id_%06u”, out_dir, id),赋值给nfn
- 定义了SIMPLE_FILES
- link_or_copy(q->fname, nfn);
- 创建一个硬连接,将q->fname硬连接到nfn
- 如果失败则创建文件,并将q->fname的内容写入到nfn对应的文件中
- 更新q->fname = nfn
- 如果当前q为确定性变异
- mark_as_det_done(q);
- 获取当前的文件名,strrchr(q->fname, ‘/‘),赋值给fn
- 更新fn为alloc_printf(“%s/queue/.state/deterministic_done/%s”, out_dir, fn + 1)
- 创建这个文件,设置q->passed_det = 1;
- mark_as_det_done(q);
- q = q->next;id++;
- 如果设置了in_place_resume
- nuke_resume_dir();
- 删除out_dir/_ resume/.state/deterministic_done
- 删除out_dir/_ resume/.state/auto_extras
- 删除out_dir/_ resume/.state/redundant_edges
- 删除out_dir/_ resume/.state/variable_behavior
- 删除out_dir/_ resume/.state
- 删除out_dir/_ resume
- 如果删除失败,则fatal
- nuke_resume_dir();
load_extras(u8* dir)
如果使用了-x参数指定了字典的话,载入字典
find_timeout(void)
读取fuzzer_stats文件里与exec_timeout相关的参数,通过文件中匹配exec_timeout的特征,获取偏移,然后atoi读exec_timeout的具体值
- 如果没有定义resuming_fuzz,则rerutrn
- 如果定义了in_place_resume = 1,fn = alloc_printf(“%s/fuzzer_stats”, out_dir),反之fn = alloc_printf(“%s/../fuzzer_stats”, in_dir);
- 接着open fn,然后匹配字符串”exec_timeout : “,将:后面的值转化为int,然后赋值给exec_tmout,并同时设置timeout_given = 3;
detect_file_args(char** argv)
查找是否存在@@占位符,如果存在则替换为out_dir/.cur_input
- 获取当前执行的AFl根目录的绝对路径,赋值给cwd
- 获取strstr(argv[i], “@@”),赋值给aa_loc
- 如果aa_loc存在
- 如果没有指定out_file
- 那么out_file = alloc_printf(“%s/.cur_input”, out_dir);
- 如果指定了,当时不是绝对路径的话
- aa_subst = alloc_printf(“%s/%s”, cwd, out_file);
- 如果指定了,且路径为绝对路径
- aa_subst = out_file;
- 最后会将@@替换为$cwd/out_dir/.cur_input
- 如果没有指定out_file
setup_stdio_file(void)
针对于没有指定outfile,且也不存在@@的情况。先unlink掉同名的文件out_dir/.cur_input,然后创建outdir/.cur_input文件,同时文件描述符由out_fd保存
check_binary(u8* fname)
检查最后指定的,需要插桩的binary是否存在,还会去检查ELF header这类
perform_dry_run(char** argv)
遍历queue中的case,将case读到内存里,然后进入calibrate_case判断这个case是否有问题
根据calibrate_case函数执行的返回结果,会分为几种情况,根据这几种情况会有一个判断,然后一直判断,直到程序fault或者case全部判断完毕
最后会有一个case的质量检查,如果fail的次数和queued_paths相等,那么会直接fault;fail的占比高于百分之20,那么会发出警告
涉及到的枚举值
1 | |
初始话一些变量
1 | |
- 进入循环
- 获取q的filename,赋值给fn,接着open,然后将内容写到use_mem中,use_mem就是需要评估的样本内容
- 调用res = calibrate_case(argv, q, use_mem, 0, 1),其中res是返回结果,状态见上方的枚举值
- 接着进入一个switch
- res==FAULT_NONE
- 如果是q == queue,那么也就是第一次执行,会调用check_map_coverage()
- 如果满足crash_mode≠0,会fatal
- res==FAULT_TMOUT
- 如果手动设定了timeout
- 如果是宽松模式,也即是timeout具体值后面多了一个’+’
- 设置当前样本的call_failed,q->cal_failed = CAL_CHANCES;
- cal_failures++
- 如果是严格模式
- 输出一些信息,然后fatal
- 如果是宽松模式,也即是timeout具体值后面多了一个’+’
- 如果没有手动设定timeout
- 输出一些信息,然后fatal
- 如果手动设定了timeout
- res==FAULT_CRASH
- 如果设置了crash_mode
- break
- 如果设置了skip_crashes
- 设置当前样本的call_failed,q->cal_failed = CAL_CHANCES;
- cal_failures++
- 接着针对是否设置了mem_limit,产生一些针对性的输出
- fatal
- 如果设置了crash_mode
- res==FAULT_ERROR
- fatal
- res==FAULT_ERROR
- fatal,因为没有插桩
- res==FAULT_NOBITS
- useless_at_start++
- 如果满足(!in_bitmap && !shuffle_queue),会输出”No new instrumentation output, test case may be useless.”
- res==FAULT_NONE
- 如果满足q->var_behavior≠0,输出”Instrumentation output varies across runs.”
- q = q->next;
- 如果cal_failures≠0
- 如果cal_failures的次数与queued_paths相等,说明样本执行全部失败了,则fatal
- cal_failures的比例,超过20%,则fatal
calibrate_case(char** argv, struct queue_entry* q, u8* use_mem,u32 handicap, u8 from_queue)
初始化一系列变量
1 | |
- if (!from_queue || resuming_fuzz)
- 设置use_tmout
- 默认q->cal_failed++,认为是最坏的情况,样本执行失败
- 设置stage_name = “calibration”;
- stage_max = fast_cal ? 3 : CAL_CYCLES,这里的stage_max默认一开始是8,当开始第二轮的时候,往往会被设置成40,也就是一个样本正常执行的次数是40
- if (dumb_mode != 1 && !no_forkserver && !forksrv_pid)
- init_forkserver(argv);初始化forkserver,其中forksrv_pid是反之重复初始化
- 如果当前样本的exec_cksum,那么说明这个样本不是第一次执行
- 将trace_bits内容拷贝到first_trace,其中的trace_bits是样本每一次执行后的路径情况
- 调用has_new_bits(virgin_bits);判断是否产生了新的路径
- 返回0说明,没有新路径
- 返回1说明,产生的路径没有大于一个字节,也就是路径变化不大
- 返回2说明,产生的路径大于等于1个字节,路径变化很大
- if (hnb > new_bits) new_bits = hnb;设置new_bits,用于后续判读该样本是否产生了新路径
- 获取开始时间,赋值给start_us
- 进入for 循环,次数是stage_max
- if (!first_run && !(stage_cur % stats_update_freq))
- 会调用show_stats(),输出状态
- 接着调用write_to_testcase(use_mem, q->len),将样本内容写到out_dir/.cur_input中
- 调用fault = run_target(argv, use_tmout);
- 满足if (stop_soon || fault != crash_mode),也就是crtl c会退出,或者crahs_mode对不上
- goto abort_calibration;
- 计算hash值,调用hash32(trace_bits, MAP_SIZE, HASH_CONST),赋值给cksum
- 如果当前执行样本的q->exec_cksum和cksum不等
- 判断virgin_bits的是否产生新路径
- 如果q->exec_cksum存在,说明不是第一次执行的时候会进入下面的逻辑
- 进入循环
- 如果当前的trace_bits和first_trace不一致,说明可能发生了路径上的变化
- 设置var_bytes[i] = 1;
- stage_max = CAL_CYCLES_LONG,也就是延长了当前样本的执行次数
- 设置var_detected = 1,说明执行了这个样本,发生了变化
- 如果当前的trace_bits和first_trace不一致,说明可能发生了路径上的变化
- 进入循环
- 如果q->exec_cksum不存在
- q->exec_cksum = cksum;
- 将trace_bits内容拷贝到first_trace
- if (!first_run && !(stage_cur % stats_update_freq))
- 获取结束时间,赋值给stop_us
- 计算一下执行时间和执行轮数,分别赋值给total_cal_us和total_cal_cycles
- 进行样本信息的赋值
- q->exec_us=执行时间/执行轮数,q->bitmap_size = count_bytes(trace_bits),q->handicap = handicap,q->cal_failed = 0。也就是执行到这个地方说明样本并没有执行失败
- 接着增加总的bitmap的大小和数量,对应逻辑是total_bitmap_size += q->bitmap_size;total_bitmap_entries++
- 执行update_bitmap_score(q);
- 如果满足(!dumb_mode && first_run && !fault && !new_bits)
- fault = FAULT_NOBITS,这种情况就是说样本正常执行,当时没有产生新的路径
- 进入abort_calibration标签
- 如果满足(new_bits == 2 && !q->has_new_cov),说明产生了全新的覆盖率
- 设置q->has_new_cov = 1;queued_with_cov++;
- 如果检测出了变化,也就是满足var_detected==1
- 计算变化的数量var_byte_count = count_bytes(var_bytes);
- 如果满足(!q->var_behavior)
- 执行mark_as_variable(q);
- queued_variable++;
- 最后是开头的一些变量的更新,和状态的输出
- 如果满足(new_bits == 2 && !q->has_new_cov),说明产生了全新的覆盖率
- 最后return fault
init_forkserver(char** argv)
初始化基本的变量
1 | |
- 初始化管道pipe(st_pipe);pipe(ctl_pipe)
- 执行forksrv_pid = fork(),fork一个子进程,然后子进程pid赋值给forksrv_pid
- 接着如果满足if (!forksrv_pid),下面执行的逻辑是子进程执行的
- 设置当前进程的fd数量上限到200
- 接着设置内存的上限
- 执行setsid(),脱离终端控制,反之被挂起
- 将stdout、stderr重定向到dev_null_fd
- 如果定义了outfile
- 将stdin也重定向到dev_null_fd
- 将stdin重定向到out_fd,也就是将种子当成输入
- 接着执行dup2(ctl_pipe[0], FORKSRV_FD);dup2(st_pipe[1], FORKSRV_FD + 1)
- 子进程通过198这个fd来读取来自父进程的信息,同时通过199这个fd来将信息传递给父进程
- 设置一系列的环境变量,最后执行execv(target_path, argv);
- 如果正常的话其实会跑到插桩的代码,后续与父进程交互,这个部分后面写
- 如果失败的话,执行exit,退出
- 父进程这里也设置了fd
- 父进程通过198来将信息传递给子进程,同时通过199读取来自子进程的消息
- 设定一个超时的计时器
- 阻塞,直到可以读取来自子进程的消息rlen = read(fsrv_st_fd, &status, 4),正常来说应该是hello
- 如果没有超时的话,这个计时器会被清空
- 判断rlen的长度,等于4的话说明forkserver正常启动了。如果child_timed_out存在,说吗子进程执行超时。还存在waitpid(forksrv_pid, &status, 0)判断子进程的返回状态是否正常。
- 后续还有一些判断,不是特别重要,有时间再补吧
show_stats(void)
has_new_bits(u8* virgin_map)
根据机器字长,设置current和virgin,其中的 >>3/2就是除以8/4
1 | |
- 进入while(i—)循环
- 当current不为0且( current & *virgin)不为0的时候,说明发现了新路径,或者说某一条路径多执行了一次
- ret<2时
- 取单字节的current为cur,单字节的virgin为vir,每次判断的idx都是8个增长。也就是将八个字节拆封成8个单字节判断
- 这里说个例子,判断如果cur[0] && vir[0] == 0xff为1那么说明产生了新路径,ret=2。需要注意的是==的优先级大于 &&,这里踩坑了。因为vir初始化就是0xff,所以==0xff说明还没被执行到,因此cur[0]只要不为0,那么就会产生新路径
- 如果不为1的话,那么ret=1
- 执行*virgin &= ~*current,这里讲current为1的bit的值取反,然后&操作,这样就可以消除vir上的1位。例子看下面
- ret<2时
- current++;
- virgin++;
- 当current不为0且( current & *virgin)不为0的时候,说明发现了新路径,或者说某一条路径多执行了一次
- 满足if (ret && virgin_map == virgin_bits),需要注意的是fuzz时存在多个virgin,分别是virgin_bits、virgin_tmout和virgin_crash,这里的bitmap_changed针对于virgin_bits
- 设置bitmap_changed=1
- return ret;
write_to_testcase(void* mem, u32 len)
如果out_file存在的话,将当前样本的内容,写到out_file中;如果不存在的话,通过out_fd写进去
run_target(char** argv, u32 timeout)
初始化一些值
1 | |
如果是dumb_mode或者no_forkserver,这个情况我不讨论,后续有时间再续
- 如果是正常的forkserver模式
- 首先父进程向fsrv_ctl_fd管道写入上一次程序执行的状态,其中prev_timed_out=0代表上一次执行没有超时。
- 阻塞进程,等待forkserver向fsrv_st_fd管道写入child_pid,父进程等待读取
- 如果child_pid<0,则fatal
- 根据传入的timeout参数,设置计时器
- 父进程等待从fsrv_st_fd管道读如forkserver子进程执行状态
- 如果子进程已经退出或者死亡,则child_pid=0
- 通过timer计算出子进程执行的时间exec_ms,接着清空timer,total_execs++;
- 根据word_size,调用classify_counts((u64 )trace_bits)或者classify_counts((u32)trace_bits);
- 由于fuzz启动之前重新写过信号,所以当超时的时候会讲child_timed_out赋值为1,并kill(child_pid, SIGKILL),因此这里当timer重置之后,会讲这个child_timed_out的结果赋值给prev_timed_out,那么下一次执行的时候这个结果就会被反馈给forkserver了
- 根据forkserver传递的status来判断返回值类型
- WIFSIGNALED(status)当这个为真时,也就是子进程异常退出,通过调用WTERMSIG(status)获得子进程结束之前的signal,赋值给kill_signal
- 如果child_timed_out=1且kill_signal == SIGKILL,也就是超时导致了异常退出,那么return FAULT_TMOUT
- 如果没有超时,那么就意味着crash,所以return FAULT_CRASH;
- 如果使用了asan,且WEXITSTATUS(status) == MSAN_ERROR检测到了使用未初始化的内存
- kill_signal = 0
- return FAULT_CRASH;
- 如果满足这个条件(!(timeout > exec_tmout) && (slowest_exec_ms < exec_ms))
- 这里是统计执行的最慢时间,所以会执行slowest_exec_ms = exec_ms
- WIFSIGNALED(status)当这个为真时,也就是子进程异常退出,通过调用WTERMSIG(status)获得子进程结束之前的signal,赋值给kill_signal
- return FAULT_NONE;
classify_counts(u64* mem)
- 遍历完mem
- 八个字节为一次,一次分为4组,每组两个bytes,通过调用count_class_lookup16[mem16[i]]来检索count_class_lookup16数组中对应的值,然后再填回mem16[i]
count_bytes(u8* mem)
- 遍历完mem
- 四个字节为一次,一次分为4组,每组一个字节,讲每一个字节都&0xff,值如果不为0的话,则ret++
- return ret;
update_bitmap_score(struct queue_entry* q)
初始化变量,这个fav_factor就是后面判断进入top_rated[i]的依据,执行时间*文件长度
1 | |
- 进入for循环,执行MAP_SIZE次数
- 如果当前idx的trace_bits[idx]存在
- 如果top_rated[i]不为空
- 如果当前的fav_factor>top_rated[i]的fav_factor,那么continue,说明这个无法加入
- 如果满足(!–top_rated[i]->tc_ref),即top_rated[i]->tc_ref=1,也就是之前是添加到top_rated数组里的,且目前q的fav_factor<top_rated[i]的fav_factor
- 释放掉原本top_rated[i]->trace_mini,并清空,后续会为这个新的q分配trace_mini
- 直接把当前的case放到这个数组,top_rated[i] = q
- q->tc_ref++;
- 如果当前的q不存在trace_mini的话
- 先分配对应的内存,然后调用minimize_bits(q->trace_mini, trace_bits),讲trace_bits压缩到q->trace_mini
- 设置score_changed = 1;
- 如果top_rated[i]不为空
- 如果当前idx的trace_bits[idx]存在
minimize_bits(u8* dst, u8* src)
代码量很少,其实用到一个压缩的算法
这里就是把src里的单个字节映射到dst到bit,因此缩小了8倍的大小。下面的逻辑就是如果*src存在的话,就讲dst中对应bit位赋值为1
1 | |
mark_as_variable(struct queue_entry* q)
创建out_dir/queue/.state/variable_behavior/fname的符号链接,同时设置q->var_behavior = 1;
cull_queue(void)
基本值的初始化
1 | |
- 循环遍历queue,将q->favored = 0都设置成0
- 进入循环,执行次数是MAP_SIZE
- 如果当前的top_rated[i]存在,且(temp_v[i >> 3] & (1 << (i & 7)))不为0
- j = MAP_SIZE >> 3;
- 进入while (j–)循环
- 如果top_rated[i]->trace_mini[j]存在
- 执行temp_v[j] &= ~top_rated[i]->trace_mini[j],意思就是说将trace_mini按位取反,然后与temp_v[j]进行&运算,同时遍历了temp_v数组。循环执行完毕后,temp_v[j]中不存在当前top_rated[i]涉及到的路径
- 当执行完毕所有的top_rated数组的时候,获得的temp_v[j]是一个不包含所有样本路径的最小子集(但这个没用)。同时由于这个判断的存在(temp_v[i >> 3] & (1 << (i & 7))),所以这里就是一个top_rated数组去重的过程
- 如果top_rated[i]->trace_mini[j]存在
- top_rated[i]->favored = 1;
- 然后queued_favored++;
- top_rated[i]->was_fuzzed,意思是当前样本如果没有被fuzz过,fuzz的数量会变+1
- pending_favored++;
- 如果当前的top_rated[i]存在,且(temp_v[i >> 3] & (1 << (i & 7)))不为0
- 设置q=queue,也就是到队列开头
- while (q)
- 遍历执行mark_as_redundant(q, !q->favored);
mark_as_redundant(struct queue_entry* q, u8 state)
- 如果state 和q->fs_redundant相等,就return
- q->fs_redundant = state;
- 为fn分配路径为out_dir/queue/.state/redundant_edges/fname
- 如果state为1,也就是redundant的情况
- 创建这个fn路径的文件
- 如果state为0,也就是属于favored的情况
- 删除这个fn路径的文件
show_init_stats
find_start_position(void)
针对于开启了resuming_fuzz的情况,为了获取上一次执行样本的位置
- 如果resuming_fuzz为0,则return
- 如果in_place_resume=1
- fn为out_dir/fuzzer_stats
- 如果in_place_resume=0
- fn为in_dir/../fuzzer_stats
- 打开这个文件,将内容读到tmp里,接着匹配”cur_path : “字符在这文件内的偏移,然后将”:”后的值转化为int,赋值给ret,最后return ret
- 这个返回值会赋值给seek_to
write_stats_file(double bitmap_cvg, double stability, double eps)
save_auto(void)
将自动生成的一些字典保存到out_dir下面
- 如果auto_changed=0,则return
- 设置auto_changed=0
- for循环,次数是MIN(USE_AUTO_EXTRAS, a_extras_cnt)
- 获取fn路径,为alloc_printf(“%s/queue/.state/auto_extras/auto _%06u”, out_dir, i);
- 打开这个文件,将a_extras数组的内容写入
fuzz执行的流程
- 进入循环while (1)
- 定义skipped_fuzz
- 执行cull_queue()精简top_rated数组
- 如果queue_cur为空的话,其实也就是对应着初始fuzz开始状态
- queue_cycle++;
- current_entry = 0;
- cur_skipped_paths = 0;
- queue_cur = queue;
- while (seek_to)
- 通过seek_to来找到之前fuzz的queue
- 执行函数show_stats,打印状态
- 如果queued_paths于prev_queued相等
- 同时采用字符拼接的策略的话
- cycles_wo_finds++
- 否则use_splicing = 1,开启字符拼接
- 同时采用字符拼接的策略的话
- 否则cycles_wo_finds = 0
- 如果是第一轮执行,同时是M/S模式,并且存在环境变量AFL_IMPORT_FIRST
- 执行sync_fuzzers(use_argv);
- 执行fuzz_one(use_argv),返回值赋值给skipped_fuzz
- 对于没有停止、处于M/S模式并且没有被fuzz的样本
- 如果满足(!(sync_interval_cnt++ % SYNC_INTERVAL))
- 执行sync_fuzzers(use_argv);
- 如果满足(!(sync_interval_cnt++ % SYNC_INTERVAL))
- 执行queue_cur = queue_cur->next;current_entry++,下一个样本和数量++
sync_fuzzers(char** argv)
作用其实是在开启了M/S的情况下,同步不同sync_id目录下的样本
初始化一些变量
1 | |
- 执行sd = opendir(sync_dir);
- 进入循环while ((sd_ent = readdir(sd))),是遍历sync_dir目录下的所有内容
- 如果此时的遍历项是”.”开头或者等于当前的sync_id,说明是隐藏文件或者自己的fuzz目录,因此执行continue跳过
- 接着qd_path=”sync_dir/sd_ent->d_name/queue”,也就是获取到其他sync_id/queue目录下的路径
- 调用qd = opendir(qd_path),获取内容。同时也是判断当前的目录下是否存在queue,如果不存在的话,说明这个不是另外sync_id的目录,因为目录下还可能存在.cur_input、fuzz_bitmap、fuzzer_stats等等
- qd_synced_path=”out_dir/.synced/sd_ent->d_name”,到了这里也就是说已经获取了其他并行fuzzer的样本目录了,然后这里是获取,为了后续创建.synced的目录
- id_fd = open(qd_synced_path, O_RDWR | O_CREAT, 0600),创建文件
- 将当前的文件内容读到min_accept,然后赋值next_min_accept = min_accept;
- 执行sprintf(stage_tmp, “sync %u”, ++sync_cnt);
- 进入循环while ((qd_ent = readdir(qd)))
- 如果当前遍历到的项是隐藏文件,或者格式不满足类似于这种”id:000000,orig:seed”,或者当前获取到的syncing_case<next_min_accept,说明当前同步的样本重复了,所以continue
- 如果syncing_case >= next_min_accept,则next_min_accept = syncing_case + 1;
- 分配path=”qd_path/qd_ent->d_name”,然后fd = open(path, O_RDONLY);
- 接着调用mmap将当前文件内容映射到内存,然后将内容写到.cur_input中,调用run_target跑下这个case,保存执行完毕该样本的状态,用于后续判断是否可以被保存为interesting case
暂时搁置分析的函数
fuzz_one(char** argv)
- 如果当前样本的变异深度≥1则return 1,说明此时的这个样本已经被fuzz过了
- 如果pending_favored不为0,则说明top_rated数组里还存在样本没fuzz
- 如果当前样本被fuzz过了,或者当前样本并不是favored。同时UR(100) < SKIP_TO_NEW_PROB满足,则return 1。前方的SKIP_TO_NEW_PROB为99,也就是对于被fuzz过的样本,且不是favored的样本,有%99的概率直接返回
- 如果pending_favored为0
- 如果不是dumb_mode且当前样本不是favored且queued_paths大于10
- 如果不是第一轮,且当前样本没有被fuzz过
- %75的概率reutrn 1
- 如果是第一轮或者被fuzz过了
- %95概率直接return 1
- 如果不是第一轮,且当前样本没有被fuzz过
- 如果不是dumb_mode且当前样本不是favored且queued_paths大于10
- 获取当前样本的内容,调用mmap映射到内存,分别赋值给orig_in 和in_buf,同时获取样本内容的长度,赋值为len
- 如果当前的样本执行失败过
- 如果次数<3,那么会给重新执行的机会,然后判断返回状态,如果还是FAULT_ERROR则fatal
- 如果≥3,同时满足(stop_soon || res != crash_mode)的话,cur_skipped_paths++,然后goto abandon_entry;
- 如果不是dumb_mode,且当前的样本还没有被trim过
- 调用u8 res = trim_case(argv, queue_cur, in_buf),其实就是精简下样本
- 如果是FAULT_ERROR,则fatal
- 接着赋值queue_cur->trim_done = 1
- 更新queue_cur→len,更新out_buf
- 调用calculate_score(queue_cur),为当前的样本评分,赋值给orig_perf和perf_score
- 如果当前的样本不跳过确定性变异,或者没有被fuzz过,或者没有被设置过passed_det的标志位
- goto havoc_stage,执行随机性变异
- 如果满足(master_max && (queue_cur->exec_cksum % master_max) != master_id - 1)
- goto havoc_stage,执行随机性变异
- 设置doing_det = 1,执行到这里说明当前没发生过执行随机性变异,下方会先执行确定性变异,然后后续的变异流程以后再分析。。。。。(待填坑
样本的确定性变异/随机性变异/字符拼接
由于写ast fuzz其实用不到,因为会破坏文法,所以这一部分暂时不分析,以后有需要再分析
trim_case(char** argv, struct queue_entry* q, u8* in_buf)
calculate_score(struct queue_entry* q)
common_fuzz_stuff(char** argv, u8* out_buf, u32 len)
fuzzer与forkserver间的通信
我这里采用的思路是使用afl-gcc编译一个,然后把编译后的文件拉到ida里直接看,下方分析的是64位的程序
一些重要的值


- __afl_area_ptr
- 共享内存的起始地址
- __afl_prev_loc
- 上一次执行,边的位置
- __afl_fork_pid
- forkserver fork出来的子进程的pid
- __afl_temp
- 存放fuzzer与forkserver之间通信的临时数据
- __afl_setup_failure
- 子进程超时或者执行失败这个值会被赋值为1,如果为0则是正常运行
- __afl_global_area_ptr
- 存放共享内存的起始地址
_afl_maybe_log(unsigned int cur_loc)
这里是完整的逆向完毕的代码
1 | |
- _afl_area_ptr如果不为空的话,说明此时共享内存已经被初始化
- __afl_store的label,下方的逻辑经过优化,下方的trace_bits其实就是共享内存
- edge_id = _afl_prev_loc ^ [complie_time_random]
- trace_bits[edge_id]++
- _afl_prev_loc = [complie_time_random] >> 1
- __afl_store的label,下方的逻辑经过优化,下方的trace_bits其实就是共享内存
- _afl_area_ptr如果为空,这说明还没有初始化共享内存
- 如果_afl_setup_failure为0,也就是forkserver fork出来的子进程没有运行失败
- v2 = _afl_global_area_ptr;
- 如果_afl_global_area_ptr不为空,说明共享内存已经初始化,所以下面需要给_afl_area_ptr赋值
- _afl_area_ptr = _afl_global_area_ptr;
- 如果_afl_global_area_ptr为空
- 获取环境变量__AFL_SHM_ID的值,赋值给shm_id_str
- 接着通过这个shm_id将共享内存attach到进程空间中,成功的话会将地址的返回值赋值给area_ptr
- 如果attach失败了
- ++_afl_setup_failure,然后return
- 如果attach失败了
- 接着_afl_area_ptr和_afl_global_area_ptr都被赋值为area_ptr,也就是上方的attach的共享内存的地址
- 执行write(199, &_afl_temp, 4u) == 4,向fuzzer传递4字节信息,执行成功进入下方逻辑
- 进入while ( 1 )循环
- 读取来自父进程的消息,其实就是prev_timeout的值
- fork子进程,保存其child_pid
- 如果child_pid < 0说明fork失败,那么就break
- 如果child_pid=0,就goto __afl_fork_resume,这里其实对应的是子进程的逻辑
- 进入到这一步说明是forkserver的逻辑,因为上方子进程已经goto __afl_fork_resume了。接着forkserver将子进程的child_pid传递给fuzzer,forkserver等待子进程执行完毕后,将执行完毕的信息存储在_afl_temp,后续通过管道发送给fuzzer,让fuzzer判断子进程是否执行成功,后续forkserver会一次持续的这个循环,不断的fork子进程执行,返回pid,判断状态
- exit
- 进入while ( 1 )循环
- 这里是__afl_fork_resume的label
- 关闭管道,赋值v2 = shm_id;v1 = shm_ptr;
- goto __afl_store;
- 如果_afl_setup_failure为0,也就是forkserver fork出来的子进程没有运行失败
complie_time_random的由来
插桩代码中存在着一段逻辑,这里会将outf的内容插入到每一个基本块
1 | |
跟进trampoline_fmt_64,这里主要就是调用了__afl_maybe_log函数,然后存在这样一段汇编”movq $0x%08x, %%rcx\n”,其实这里就是上方的R(MAP_SIZE),R是一个随机数的宏,定义是这样define R(x) (random() % (x))
1 | |